外商投资企业设立流程有哪些关键步骤?
外商投资企业
需要明确几个关键概念:
(图片来源网络,侵删)
- 外商投资企业:指外国投资者(包括外国公司、经济组织或个人)依照中国法律,在中国境内与中国投资者或单独投资设立的企业。
- 主要形式:
- 中外合资经营企业:股权式企业,中外双方共同投资、共同经营、共担风险、共负盈亏,双方按出资比例分享利润和承担风险。
- 中外合作经营企业:契约式企业,中外各方的权利、义务和利润分配等由合同约定,可以不按出资比例分配。
- 外商独资企业:完全由外国投资者投资设立的企业,所有权和经营权归外商所有。
- 外商投资合伙企业:较少见,适用于特定领域。
- 外商投资准入管理制度:这是最核心的变化,中国实行 “负面清单” 管理模式。
- 负面清单:列出了禁止或限制外商投资的领域,只要不属于清单内的行业,外国投资者就可以在中国进行投资设立企业。
- 准入前国民待遇:在负面清单之外,外国投资者享受与中国投资者同等的待遇。
设立外商投资企业的完整流程
整个过程可以分为以下六个主要阶段:
第一阶段:前期准备与可行性研究
这是最关键的决策阶段,决定了投资的成败。
-
市场调研与商业计划:
- 市场分析:深入了解目标市场的规模、增长潜力、竞争格局、消费者偏好等。
- 竞争对手分析:研究本地及国际竞争对手的策略。
- 制定商业计划:明确公司定位、产品/服务、营销策略、管理团队、财务预测等。
-
确定投资形式:
(图片来源网络,侵删)- 根据行业特点、资金实力、技术优势、风险偏好等因素,选择设立合资、合作还是独资企业。
- 合资:适合希望利用本地合作伙伴的渠道、资源和关系,降低风险的情况。
- 独资:适合技术领先、希望完全控制知识产权和运营模式的大型企业。
- 合作:适用于资源开发、基础设施建设等特定项目。
- 根据行业特点、资金实力、技术优势、风险偏好等因素,选择设立合资、合作还是独资企业。
-
法律与政策审查:
- 查询《外商投资准入负面清单》:确认您计划投资的行业是否在清单内,如果在清单内,需查看是“禁止”还是“限制”进入,并了解相应的条件和审批要求。
- 咨询专业机构:强烈建议聘请中国的律师事务所、会计师事务所或咨询公司,提供专业的法律、税务和注册指导。
-
寻找合作伙伴(如适用):
如果选择合资或合作,需要寻找合适的本地合作伙伴,尽职调查至关重要,包括对方公司的背景、财务状况、商业信誉、合作动机等。
-
准备投资资金:
(图片来源网络,侵删)- 确定注册资本金额,注册资本是企业承担责任的限额,也是企业运营的基础,根据新《公司法》,注册资本认缴制已普遍实行,但特定行业仍有最低要求。
- 确定出资方式(货币、实物、知识产权、土地使用权等)。
第二阶段:名称预先核准
在正式提交申请前,需要先到市场监督管理局(或行政审批局)进行企业名称预先核准。
- 准备材料:投资者主体资格证明(如外国公司的营业执照、护照等)、拟定的公司名称(通常准备3-5个备选)。
- 核准流程:通过线上系统或现场提交申请,市场监督管理局会核验名称是否与现有企业重名或存在不良影响。
- 结果:核准通过后,会出具《企业名称预先核准通知书》,有效期通常为6个月。
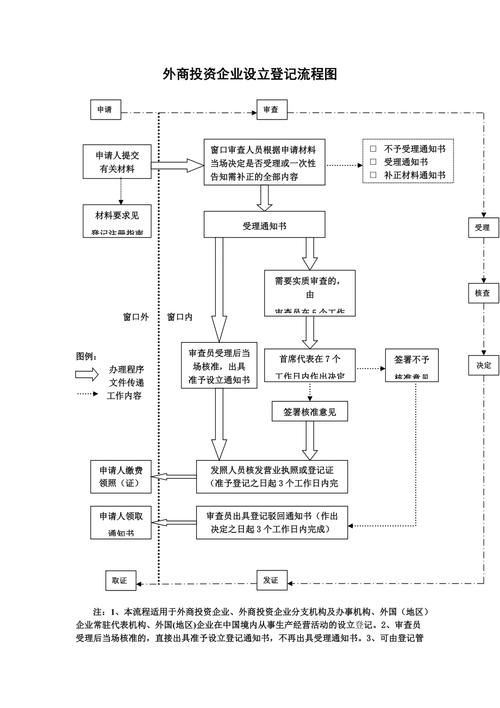
第三阶段:申请外商投资企业批准证书(或备案)
这是核心审批环节,根据是否在负面清单内,流程有所不同。
-
不在负面清单内(鼓励类、允许类)
- 适用制度:备案管理。
- 流程:无需商务部门审批,但需要在设立或变更后规定时限内(通常是30天内)通过 “外商投资信息报告系统” 进行在线备案。
- 提交材料:公司章程、投资者身份证明、法定代表人任职文件等。
- 结果:系统备案成功后,会获得备案回执,这是后续办理工商登记的必要文件。
-
在负面清单内(限制类)
- 适用制度:审批管理。
- 流程:需要向地方或国家商务主管部门(现为 商务部 或地方 商务厅/局)提交申请,进行实质性审批。
- 提交材料:申请书、可行性研究报告、合同/章程、投资者资信证明、法律意见书等。
- 结果:审批通过后,会获得《外商投资企业批准证书》。
第四阶段:办理工商登记
获得备案回执或批准证书后,即可到市场监督管理局办理营业执照。
- 申请地点:公司拟注册地的区/县级市场监督管理局。
- 准备材料:
- 《外商投资企业设立登记申请书》
- 名称预先核准通知书
- 外商投资企业批准证书(或备案回执)
- 公司章程、合同
- 法定人、董事、监事、经理的任职文件及身份证明
- 场地使用证明(租赁合同、房产证明)
- 投资者主体资格证明(需经过公证和认证)
- 结果:审核通过后,会颁发 《营业执照》,这标志着公司在法律上正式成立。
第五阶段:后续事项办理
拿到营业执照只是开始,还有很多后续手续需要完成。
- 刻制印章:到公安局指定刻章点刻制公章、财务章、法人章、发票章等。
- 银行开户:凭营业执照和印章到银行开设公司基本存款账户(用于日常转账和工资发放)。
- 税务登记:在领取营业执照后30天内,到税务局进行税务登记,核定税种,购买发票。
- 外汇登记:到国家外汇管理局办理外商投资企业外汇登记,以便进行资本金账户管理、利润汇出等外汇业务。
- 统计登记:到统计局办理统计登记。
- 社保公积金开户:为员工开设社会保险和住房公积金账户。
第六阶段:正式运营
完成以上所有步骤后,公司就可以正式开始运营了。
- 招聘员工:遵守中国的《劳动法》和《劳动合同法》。
- 依法纳税:按时申报并缴纳增值税、企业所得税等各项税款。
- 合规经营:严格遵守中国的各项法律法规,接受政府部门的监管。
重要注意事项
- 专业咨询至关重要:中国的法律和商业环境复杂,聘请专业的律师和会计师可以避免走弯路,规避潜在风险。
- 语言障碍:所有官方文件均为中文,翻译和沟通需要特别注意准确性。
- 知识产权保护:在合作或技术转让中,务必签订严谨的合同,明确知识产权的归属和使用权限。
- 本地化运营:了解和尊重中国的商业文化、人际关系和消费习惯,对成功运营至关重要。
- 政策持续变化:中国的外商投资政策在不断调整,务必关注最新的法律法规和政府公告。
设立外商投资企业是一个严谨且耗时较长的过程,可以概括为:
准备 → 核名 → 审批/备案 → 工商登记 → 后续手续 → 运营
对于不在负面清单内的行业,流程已大大简化(主要是备案制),效率显著提高,但对于限制类或禁止类行业,审批流程依然严格。
建议您根据自身情况,将上述流程分解为具体的任务清单,并逐步推进,祝您在中国投资顺利!
文章版权及转载声明
作者:99ANYc3cd6本文地址:https://www.nbhssh.com/post/3806.html发布于 01-28
文章转载或复制请以超链接形式并注明出处宁波恒顺财经知识网



