外商投资企业办理流程复杂吗?
以下是一个全面、清晰的办理流程指南,分为核心步骤、关键要点和流程图解三部分,旨在帮助您理解整个过程。
(图片来源网络,侵删)
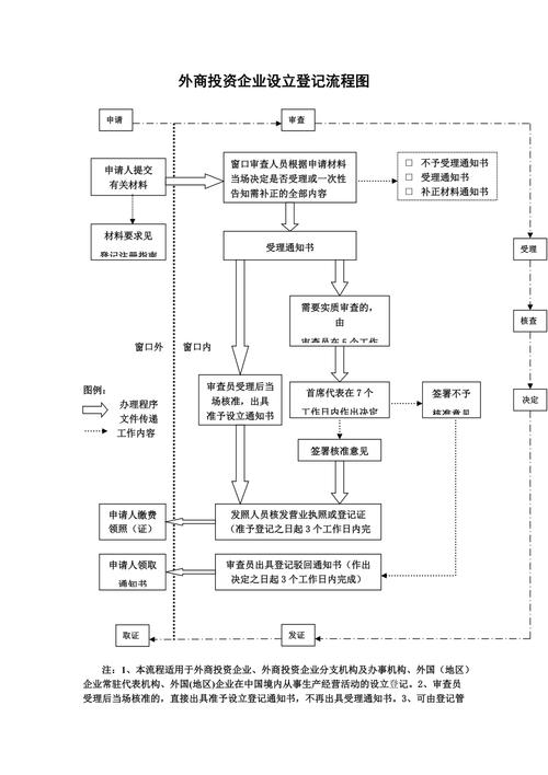
第一部分:核心办理流程
外商投资企业的设立通常遵循“审批/备案 + 登记”的模式,根据《外商投资法》及其实施条例,中国对外商投资实行准入前国民待遇加负面清单管理制度,这意味着,对于负面清单之外的领域,内外资企业享受同等待遇,流程相对简化;对于负面清单之内或需要特别管理的领域,则需要经过审批。
前期准备与可行性研究
这是整个流程的基石,决定了项目的成败。
-
确定投资主体与商业模式:
- 外方投资者: 确定是外国公司、外国自然人还是其他境外实体。
- 中方投资者(如适用): 确定中国境内的合作方。
- 企业类型: 选择设立形式,主要分为:
- 中外合资经营企业 (Joint Venture, JV): 中外双方共同投资、共同经营、共担风险、共负盈亏。
- 中外合作经营企业 (Cooperative Enterprise, CO): 合作各方以契约方式约定投资或合作条件、收益分配和风险分担。
- 外商独资企业 (Wholly-Owned Foreign Enterprise, WFOE): 由外国投资者单独投资设立。
- 外商投资合伙企业: 较少见的类型。
- 投资领域: 明确投资行业,并对照《外商投资准入特别管理措施(负面清单)》,这是决定后续流程是“备案制”还是“审批制”的关键文件。
-
名称预先核准:
(图片来源网络,侵删)- 向市场监督管理局提交企业名称预先核准申请,建议准备3-5个备选名称,通过“企业名称自主申报”系统进行在线申请,获得《企业名称预先核准通知书》。
-
签署法律文件:
- 根据选择的企业类型,起草并签署核心法律文件。
- 合资/合作企业: 《合资/合作合同》和《合资/合作章程》。
- 独资企业: 《外商投资企业章程》。
- 这些文件是后续审批和登记的核心依据,建议聘请专业律师起草。
商务部门审批/备案
这是获得“准生证”的关键一步。
-
判断流程:
- 负面清单之外领域: 实行备案管理,投资者或外商投资企业通过“外商投资综合管理信息系统”在线填报《外商投资备案回执申请表》,系统自动生成《外商投资企业备案回执》。
- 负面清单之内领域: 实行审批管理,需要向地方商务主管部门(如省/市商务厅/局)提交申请材料,由其进行审批,审批通过后,获得《外商投资企业批准证书》。
-
提交材料(以备案为例,审批材料类似但更复杂):
(图片来源网络,侵删)- 《外商投资企业备案回执申请表》。
- 外方投资者的主体资格证明文件(需经公证和认证)。
- 《企业名称预先核准通知书》。
- 合同、章程(如适用)。
- 投资者主体资格证明或身份证明。
- 授权委托书及被委托人身份证明。
工商登记(市场监督管理局)
获得商务部门的回执或批准证书后,即可进行工商注册。
- 提交申请: 向企业所在地的市场监督管理局提交设立登记申请。
- 所需材料:
- 《外商投资企业设立登记申请书》。
- 《外商投资企业备案回执》或《外商投资企业批准证书》。
- 《企业名称预先核准通知书》。
- 合同、章程(已审批或备案)。
- 各方法定代表人、董事、监事、高级管理人员的任职文件及身份证明。
- 场地使用证明(如房产证、租赁合同)。
- 其他必要文件。
- 领取营业执照: 材料审核通过后,市场监督管理局会颁发《营业执照》,这是企业合法经营的凭证,上面有统一社会信用代码。
后续手续
拿到营业执照只是开始,后续还有很多手续需要办理。
- 刻制印章: 凭营业执照到公安局指定的刻章点刻制公章、财务章、法人章、发票章等。
- 银行开户:
- 基本存款账户: 选择一家银行,开设企业基本账户,用于日常转账、工资发放等。
- 外汇账户(如需要): 如果涉及跨境资本金流动,需开设外汇资本金账户。
- 税务登记:
- 在领取营业执照后30日内,到税务局办理税务登记,核定税种,领取发票,外商投资企业通常需要同时考虑国税和地税(合并后为税务局)。
- 统计登记: 到统计局办理统计登记。
- 外汇登记: 到国家外汇管理局当地分支机构办理外商投资企业外汇登记,获取《业务登记凭证》,这是后续外汇资本金流入、结汇等操作的前提。
- 行业特定许可:
- 如果从事特殊行业(如食品、餐饮、医疗器械、教育、文化等),必须在取得营业执照后,向相应的行业主管部门申请《经营许可证》或《资质证书》,方可开展经营活动。这是非常关键且容易被忽视的一步。
第二部分:关键要点与注意事项
- 负面清单是核心: 务必仔细研究最新的《外商投资准入负面清单》,它直接决定了您的项目是走“备案”还是“审批”流程,以及是否允许外资进入。
- 专业团队的重要性: 整个流程涉及法律、商务、税务、外汇等多个专业领域,强烈建议聘请专业的律师、会计师和注册代理机构协助办理,可以大大提高效率,规避风险。
- 时间成本:
- 备案制: 如果材料齐全且顺利,整个过程可能需要2-4周。
- 审批制: 审批流程时间较长,通常需要1-3个月甚至更久,具体取决于审批部门的效率和项目的复杂性。
- 注册资本与实缴:
- 目前中国实行认缴制,即股东在章程中约定认缴的出资额和出资期限即可,无需在设立时立即实缴。
- 但对于某些特殊行业或特定类型的公司(如外商投资性公司、融资租赁公司等),仍有实缴要求。
- 资本金的外汇入账需要严格按照外汇管理局的规定进行。
- 法定代表人: 法定代表人可以是中国公民或外国公民,但需要满足中国的法律要求(如无不良记录等)。
- 税务规划: 在设立之初就应进行税务筹划,考虑企业所得税、增值税、个人所得税等税负,以及是否有适用的税收优惠政策(如高新技术企业优惠)。
第三部分:流程图解
graph TD
A[步骤一: 前期准备] --> B{是否在负面清单内?};
B -- 是 --> C[商务部门审批];
B -- 否 --> D[商务部门备案];
C --> E[获得《外商投资企业批准证书》];
D --> F[获得《外商投资企业备案回执》];
E --> G[步骤二: 工商登记];
F --> G;
G -- 提交材料 --> H[市场监督管理局];
H -- 审核 --> I[获得《营业执照》];
I --> J[步骤三: 后续手续];
J --> K[刻制印章];
J --> L[开设银行账户];
J --> M[税务登记];
J --> N[外汇登记];
J --> O[行业特定许可];
K & L & M & N & O --> P[公司正式成立运营];
外商投资企业的设立是一个多部门协作的复杂过程,核心逻辑是:
“先定方向(查负面清单) -> 再拿许可(商务审批/备案) -> 后办身份(工商登记) -> 最后办手续(银行、税务、外汇、行业许可)”
建议投资者在启动项目前,预留充足的时间,并寻求专业机构的帮助,以确保整个流程顺畅、合规。
文章版权及转载声明
作者:99ANYc3cd6本文地址:https://www.nbhssh.com/post/3534.html发布于 01-26
文章转载或复制请以超链接形式并注明出处宁波恒顺财经知识网



