个人与单位诈骗有何本质区别? 核心概念个人诈骗 (Individual Fraud):指以非法占有为目的,由单个自然人实施的,使用虚构事实或者隐瞒真相的方法,骗取数额较大的公私财物的行为,这是最常见、最基础的诈骗形式,单位诈骗 (Unit Fraud / Corporate Fraud):指以单位的名义,为了单位的利益,经单位决...
高利率投资理财怎么做?安全与收益如何平衡? 在开始之前,请务必牢记核心原则:收益与风险成正比,你追求多高的利率,就要准备好承担多大的风险,甚至可能损失全部本金,下面我将从心态准备、产品选择、风险控制三个方面,系统地为你解析如何进行高利率投资理财,第一部分:心态准备与自我评估在投入任何一分钱之前,先问自己几个问题:你的风险承受能力如何?保守型:...
大连外商投资企业协会 大连外商投资企业协会 综合介绍大连外商投资企业协会(Dalian Association of Enterprises with Foreign Investment,简称DAEFI)是在大连市民政局注册登记、由大连市商务局(原外经贸局)主管的具有独立法人资格的非营利性社会团体,它是由在大连市设立的...
如何识别和防范针对军人的婚姻诈骗? 第一部分:婚姻诈骗我们需要理解什么是“婚姻诈骗”,婚姻诈骗,在法律上通常被称为“借婚姻诈骗财物”,它指的是以结婚为幌子,虚构事实、隐瞒真相,骗取他人大量财物的行为,核心特征:主观目的非法: 行为人从开始就没有与对方建立真实、稳定婚姻关系的意图,其根本目的是为了骗取钱财,虚构事实/隐瞒真相: 常见的手...
劳动仲裁免费法律援助如何申请? 免费性:通过法律援助获得的律师服务是完全免费的,您无需支付律师费,官方性质:法律援助是由政府司法行政部门设立的法律援助中心统一管理和指派的专业律师提供的,具有权威性和公益性,核心目的:旨在保障经济困难或符合特定条件的当事人能够获得平等的法律保护,维护其合法权益,谁能申请?(申请条件)要申请劳动仲裁的...
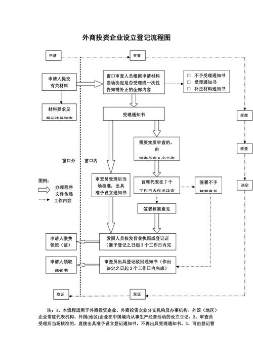
外商投资企业设立登记需满足哪些条件? (主标题+副标题,兼顾SEO与吸引力) 外商投资企业设立登记全攻略(2024最新版):从0到1,一站式搞定! 律师深度解析:流程、材料、避坑指南与政策红利,助您轻松开启在华商业版图文章导语(Meta Description,用于搜索引擎展示)想在中国设立外商投资企业(WFOE)却不知从何下手?本文由...
金港北京投资有限公司投资方向是什么? 这家公司在北京乃至全国的汽车和体育产业中都非常有名,尤其在赛车领域是绝对的领军者,公司概览金港北京投资有限公司(通常简称“金港集团”或“金港赛车”)是中国领先的汽车运动和赛车场运营商,也是集赛车场投资、建设、运营、赛事组织、汽车文化活动及商业地产开发于一体的综合性企业集团,金港 = 赛车场 + 汽车...
法律援助好还是律师好 这是一个非常好的问题,也是很多人在遇到法律困境时会纠结的核心问题,法律援助和付费律师没有绝对的“谁好谁坏”,它们是两种服务于不同人群、不同需求的制度,各有优劣,选择哪个,完全取决于您的具体情况、案件类型和期望,下面我将从多个维度为您详细对比,帮助您做出最适合自己的选择,核心区别:一张图看懂对比维度法...
中外合资企业对外投资,如何规避风险? 下面我将从定义、动机、法律框架、操作流程、核心挑战及应对策略等多个维度进行系统性的阐述, 核心概念定义我们需要明确几个关键概念:中外合资企业:根据《中华人民共和国中外合资经营企业法》,由中国公司、企业或其他经济组织与外国公司、企业、其他经济组织或个人,在中国境内共同投资举办的企业,其核心特征是共同投...
电信诈骗 电讯诈骗 核心定义与关系“电信诈骗”是一个广义的、总括性的概念,而“电讯诈骗”是其中一个相对狭义的、具体的子集,可以这样理解它们的关系:电信诈骗 ⊇ 电讯诈骗电信诈骗“电信诈骗”是当前中国官方文件、新闻报道和学术研究中使用最广泛、最标准的术语,定义:指利用电话、网络、短信等现代通信技术和信息网络,通过虚构事实...