行政处罚设定权限仅限法律吗?

这个说法是不正确的,这是一个常见的误解,根据中国《行政处罚法》的规定,行政处罚的设定权限是分层次的,...

广东合润投资发展有限公司有何业务布局?

公司基本信息公司名称: 广东合润投资发展有限公司成立日期: 2013年11月13日 (距今已有10余...

精选导读

证券从业人员股权投资有何合规边界?

以下我将为您详细梳理相关规定、投资范围、申报流程以及注意事项, 核心监管规定证券从业人员进行股权投资,主要依据以下法律法规和自律规则:《中华人民共和国证券法》:作为根本大法,明确了从业人员不得从事损害客户利益的证券交易,并禁止利用内幕信息进行交易,《证券期货经营机构及其工作人员廉洁从业规定》:对从业...

华南医博城投资,值吗?

这是一个非常好的问题,涉及到对一个大型项目的综合评估,华南医博城(通常指位于广州白云区的华南医博健康城)是一个定位非常清晰、规模宏大的项目,它是否值得投资,不能简单地用“是”或“否”来回答,而需要从多个维度进行深入分析,我会为您提供一个全面、客观的分析框架,帮助您做出自己的判断,项目概况我们简单了解...

寰宇投资理财登录方法是什么?

寰宇投资理财”的登录问题,我必须首先强调一个非常重要的安全警示:⚠️ 重要安全警示:请务必确认您要登录的平台是否为正规、合法的金融机构,网络上存在大量名称相似或模仿正规平台的虚假投资理财平台(俗称“杀猪盘”或“诈骗平台”),这些平台通常以高回报为诱饵,骗取您的资金后便关闭网站、卷款跑路,在您尝试登录...

收钱不办事是否构成诈骗?

这是一个非常常见且重要的问题,收了钱不办事,不一定都构成诈骗罪,但在很多情况下是,并且极有可能构成其他违法犯罪行为,关键在于区分 “民事纠纷” 和 “刑事犯罪(诈骗)”,核心判断标准:行为人的“主观意图”这是区分民事和刑事最关键的一点, 可能构成诈骗罪的情况(刑事犯罪)诈骗罪的核心是 “以非法占有为...

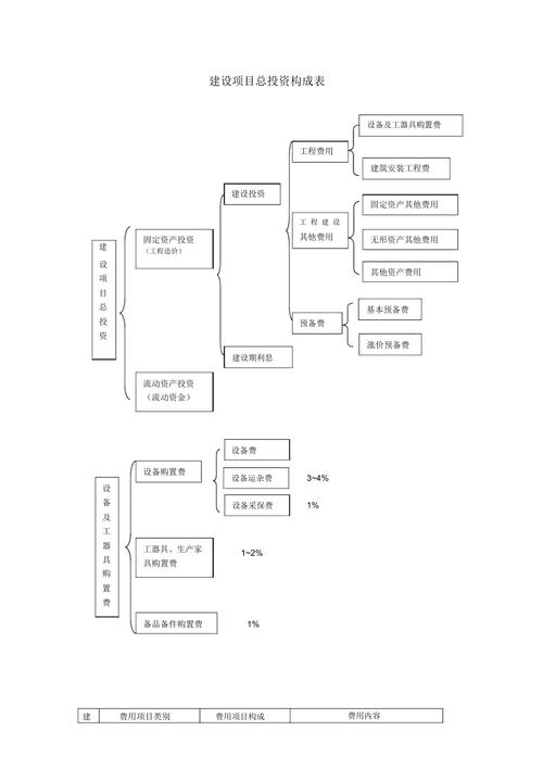
建设项目投资具体包含哪些内容?

根据中国现行的工程造价规定(主要依据《建设项目总投资组成及其他费用规定》),建设项目投资可以按照资金来源和费用构成两个维度进行划分,最常用和最核心的划分方式是将其分为固定资产投资和流动资产投资两大部分, 按资金来源划分(宏观视角)这是从项目资金筹集的角度来看,总投资由两部分构成:固定资产投资:这是项...

车位配比是否必须依法确定?

法律规定了车位配比是一个强制性要求,但具体的比例由地方人民政府根据当地的实际情况(如城市规模、经济发展水平、公共交通发达程度等)来制定,下面我将为您详细解释: 法律依据是什么?车位配比的法律依据主要来源于国家层面和地方层面的法律法规,国家层面(原则性规定):《中华人民共和国城乡规划法》:这是最核心的...

轻微伤打人法律如何判?

在中国法律中,造成“轻微伤”的,不构成刑事犯罪,不会被判“故意伤害罪”, 它属于治安案件,而不是刑事案件,下面我将从民事赔偿、行政处罚和特殊情况三个方面来详细说明, 核心法律依据《中华人民共和国治安管理处罚法》:这是处理轻微伤案件最主要的法律,《中华人民共和国民法典》:规定了侵权方需要承担的民事赔偿...

收据的法律效力是几年

这是一个非常常见且重要的问题,关于收据的法律效力年限,我们需要从两个层面来理解:诉讼时效和证据效力,诉讼时效:决定了你在法律上还能不能通过起诉来要回这笔钱,普通情况下是3年,证据效力:决定了这张收据本身作为证据是否有效,真实、合法,它永远是有效的证据,只是过了诉讼时效,法院可能不会支持你的诉讼请求,...

投资项目风险究竟有哪些?

市场风险这类风险源于宏观经济环境、行业周期和市场整体波动,通常是投资者最难控制的,系统性风险定义:影响整个市场或所有资产类别的风险,无法通过分散化投资来消除,例子:利率风险:央行加息会导致借贷成本上升,企业利润受压,债券价格下跌,股票市场也可能承压,通货膨胀风险:物价持续上涨,货币购买力下降,导致投...

好项目难遇,投资方何在?

这是一个非常棒的开场白!一个好的项目是吸引投资的第一步,但要让投资者真正“心动”并掏出钱包,您需要准备得更充分、更专业,请把“我有好项目 谁要投资”这句话,当作您开启融资征程的“启动口号”,我们需要把它变成一份能让投资者坐下来听您讲完的完整故事和一份能让他们做出决策的商业计划,以下是一个从“有好想法...